
Catching light-in a bottle
The story of Bernard Rose, the “bottle-man”
The origin story of Projection Optics may be typical of the times, and parts of it are rather hard to imagine from today’s point of view. The company was founded in 1918 by William Fouquet, Mr. Kirchgesser and William H. Repp. All of them were coworkers at Crown Optical Company, which at some point had stopped the development and manufacturing of projection lenses. William Repp had been working as a lens designer before and the other two founding members had also acquired significant experience with different tasks of lens making in the booming optical industry found in Rochester at the time.
Bernard Rose, on the other hand, owned a bottle yard in Rochester, where he re-sold empty glass bottles to local breweries. Apparently he was also interested in optics and “… began turning broken shards of glass into magnifying lenses …” (I invite you to take a look at this excellent article about Bernard Rose and his endeavors for more details). He eventually started a company called Consolidated Lens, likely together with a couple of others, and was listed of treasurer in 1921. During the following year Consolidated lens must have merged with Projection Optics. We don’t know anything about the details of this deal and thus it’s unknown what sparked the idea of working together, but it seems like the company got off to a good start, because a couple of years later they already were regulars at trade shows and advertised their products in several magazines.
William H. Repp did file his first patent in the name of the company in 1920. Interestingly enough a lot of the thought behind his second patented invention, a couple of years later – which was a Petzval derivative with as many even and identically curved surfaces as possible in order to minimize costs and time for grinding, while simultaneously still keeping a high degree of correction – was based on economical thinking, which remained a common theme within the work of Projection Optics. He was responsible for several patents before leaving and finally selling his shares in the company in 1938.
The name of William F. Fauquet, the company’s founding president, also appears on a couple of patent applications. In later years Projection Optics also cooperated with an external firm called John R. Miles company to create new lens designs. Bernard Rose, “the bottle man” died in 1948 at 80 years of age, where he was credited as “founder and president of Projection Optical Company” even though he only joined a couple of years in.
The story of Bernard Rose, a man with little means, but ideas and the bravery to put them into action as well as the willingness to put in some serious work, is an example of what’s often referred to as the American Dream in action and while success of such endeavors might have been as rare back then, as it is today, the grinding-your-own-lens-elements-from old-bottles-and-ending-up-owning-a-lens-factory part certainly sounds like a story quite specific to its time and circumstances. And while Mr. Rose might not even have been the single most important or essential person in shaping the fate of the company, his story is admittedly just too good to not be told.
I personally never thought I’d ever write about a small US company, specializing in projection lenses and research on the matter has been challenging to say the least. But as usual, I root for the underdog instinctively and found it fascinating how such a small company, starting things from scratch, managed to become a notable name in the realm of cine projection and how inventive the small team at the heart of it seems to have been.
The Gold rush
A mysterious lens and its origin
The initial reason why I got interested in Projection Optics wasn’t one of their later premium lenses, but rather a very old and somewhat mysterious one, where I didn’t expect too much in terms of optical quality. I was however quite fascinated with the look of the lens, which was completely golden and different in its design compared to most of the projection lenses of the era I’ve seen so far.
And so, I went on a digital journey to find out, sifted through hundreds of magazins from the 1920s to the 1970s and while not being able to find everything I’d hoped for (or even a fraction for that matter) I stumbled upon a lot of – often only tangentially related – but nevertheless interesting stuff.
The Pro-Dux
Projection Lenses
The products of Projection Optics don’t show the variation of many notable lens manufacturers, because the company was started with the very specific intent of creating projection lenses, and for the most part it stuck to that range of lenses.
There may have been a couple of exceptions and special orders across the whole lifespan of the company, but only in later years (from 1956 on, and thus shorly before it was acquired and re-structured) they seem to have started expanding into other fields, particularly projection for educational purposes.
Here’s an overview of the different series of projection lenses the company made during its 42 years in business as a separate entity:
Pro-Jex
In 1920 William H. Repp filed the following patent for a projection lens design:
Given the earliest ads by Projection Optics, I’ve managed to find, this design might have been used for a series of lenses called Pro-Jex.
Here’s one of the ads in question though it doesn’t show a lens design:
According to this ad, the Pro-Jex lenses were made in three types – Standard, No.1 and No.2 but no further detail on what differentiates them, is provided. The Pro-Jex name was later also used for sound units, the company apparently provided as well.
Pro-Jex Standard
No details known, but likely an equivalent of the later Super-Lite Series III lenses, the standard size, which seems to be a 70.65 mm diameter. The patent application – filed for a 100 mm lens, as it’s commonly done – states a speed of f/2.2, which was likely what the Pro-Jex series was designed around.
Pro-Jex No.1
No details are known, but likely an equivalent of the later Super-Lite Series I, a Quarter-Size lens with a diameter of 1.75 inches.
Pro-Jex No.2
No details are known, but likely an equivalent of the later Super-Lite Series I, a Quarter-Size lens with a diameter of 2.5 inches.
Pro-Jex lenses seem to have also been made (probably in significant numbers) for the US military. While this was still for projection purposes for the most part, it’s likely that the company switched to making other optical devices during wartime, around 15 years into the company’s existence. There’s some documentation on the matter in the form of a short statement from Projection optics in the magazine The Exhibitor from 1941.
Super-Lite
William Repp filed another patent in 1922 which shows an even more simplified lens design with 4 elements in 2 groups. The idea behind the invition was to create a lens with as many planar and identically curved surfaces as possible without having to compromise correction or overall optical quality. According to Bernard Rose, one of the main figures behind the company, they succeeded in achieving that goal, as you can see in his statement further down.

This design was sold under the name Super-lite and announced in a fashion that made it clear that both the company and its main optics designer were quite confident in it:
This ad shows the (established) Pro-Jex name in addition to the new Super-Lite brand name. It clearly uses a variation of the above patent from 1924.
In his short essay titled Optical Principles of the Bifocal Lens Bernard Rose certainly seems fully convinced that Projection Optics was the first to use and patent such a design:
“… the Super-Lite lens was the first lens consisting of two doublets of a long overall length and the shortest back focal length to enable the system to pick up as much light as possible. In the last few years some other constructions, some domestic and some foreign, some patented and some not coverad by patent, have been following in the footsteps of the Super-Lite. As regards quality, some are poorer, but none are better.”
(The Motion Picture Projectionist, 1930)

Super-Lite Series III
In a short article in the Exhibitors Trade Review of 1923 Magazine Projection Optics provides some more detail on the Super-Lite lens. As you can see it already shows the Super-Lite Lens Series III, so it seems like the designations Series I and II had been reserved for different sizes, similar to their competition, as speculated below. In that system the Series III lenses would have been the standard-size, which seems to have been 70.65 mm (at least that’s what Schneider put as the diameter value for many of their projection lenses and it’s also the biggest diameter of the Projection Optics lenses I’ve used).
The initial Super-Lite Series III lenses (not to be confused with the later Super-Lite Series III C ones) don’t show any f-stop value on the lens, but because of the patent, it seems likely that they were designed around f/2.2. The lens series seems to have been reasonably successful, at least if the claims about it in Projection Optics ads are to be trusted and was around for a long time. Somewhere along that way this lens series must have gotten an upgrade to f/2 in terms of speed.
Super-Lite Series I, I-A (Quarter size)
Another lens series advertised by Projection Optics alongside the Series III, was called Super-Lite Series I as well as I-A and they seem to have been more compact/shorter, likely with a smaller diameter of around 1.75 inches.
Super-Lite Series II (Half size)
There’s no mention of a Super-Lite Series II lens at all, but given the naming of the Series I-A, it appears like it could have been used to encompass what Projection Optics advertised as the Super-Lite Short Focus Half Size Lenses. This is given further credence by the fact that Bausch & Lomb had defined their naming of different series in this exact way.
“The Series II is simply a Bausch & Lomb term designating their half-size lenses, which have a free diameter of approximately 2.5 inches, as distinguished from their Series I lenses, which have free diameter, as we recall it offhand, of approximately 1.75 inches. In other words, the latter is a quarter-size lens.”
(Motion Picture News Article, 1926)
Because of their immense importance and leading role at the time, other manufacturers – like Projection Optics and Kollmorgen – seem to have adapted to that naming convention. So, the Series II lenses likely had a diameter of 2.5 inches as well.
Super-Lite Series IV
It’s possible that the distinction between different series also changed over time, because there is a mention in the following ad of the Series III being a ‘full Half-Size lens’ (perhaps that’s referring to the 70.65 mm diameter) and a Series IV finally a ‘Full 3” diameter lens’. Yeah… it seems to have been complicated. The Series IV lenses have been available in longer focal lengths only ranging from 6” to 10” according to the ad.

To summarize what I think is a likely sequence of events regarding the Super-Lite series:
- Projection Optics launched their Super-Lite series in 1923 with three simultaneous versions, the Series I, II and III, with the Series III being their main one (standard size of 70.65 mm diameter) and the other two for different devices that use smaller diameter lenses, have shorter throw etc.
- In 1929 they unveiled a Bi-Focal Super-Lite, (which thankfully is kinda self-explanatory).
- In 1930 they mentioned a Series IV lens, a full 3” diameter lens in longer focal lengths.
- In 1931 they advertised a new Super-Lite lens which was described as a “short focus half sized lens” with a different look but no further designation. Perhaps an overhaul of the Series II lenses.
- Somewhere between 1930 and 1940 (presumably, judging by the serial number) they made some golden Super-Lite lenses with completely different shape, materials, design and without further designation (see my speculation below).
- Somewhere around 1946 they developed and released a Super-Lite III C lens, which likely was a recalculated and finally coated design.
- In 1953 they finally realeased the offical successor to the Super-Lite lens, the Hilux, which launched as Super-Lite Hilux initially, but seems to have dropped the additional branding, once the new name was established.
So here is my thought-process so far regarding the golden lens: At first I thought, that the above lens might either be one of the initial lenses produced, after the patent was granted in 1924, or even one of the prototypes mentioned in the patent document by William Repp (Its focal length is 3 ¾ inches, which is 95 mm and thus very close to the values shown in the patent, which work with an imaginary focal length of 100 mm, a lot of the time.) One significant detail, which speaks against that theory though, is its serial number 41393.
The most revealing thing about the lens in question may be its name Super-Lite because the first use of that name by Projection Optics occurred in an ad from 1922. It doesn’t say Pro-Jex on it, which might have been a marketing decision (name recognition) and thus not necessary for a prototype lens. The lens does have a serial number though and while we don’t know enough about the system Projection Optics used, to say for sure, it’s reasonable to assume that they used regular consecutive numbers.
Here are a couple of numbers for comparison:
| Lens | Serial number | Estimated year of production |
|---|---|---|
| Pro-Jex No. 2 9 inch | 2099 | 1920-1923 |
| Pro-Jex Super-lite-Lens 9 inch (US Army) | 4002 | 1922-1923 |
| Pro-Jex Super-lite-Lens 7 inch | 4176 | 1922-1923 |
| Super-Lite 4 ½ inch (half size) | 34369 | 1933 |
| Super-Lite 3 ¾ inch (golden) | 41393 | 1934-1936 |
| Super-Lite 5 ¾ inch Series III C | 102162 | >1946 |
If the unnamed Super-Lite lens shown in the ad under Super-Lite Series II had a different finish it could indeed be part of the same series or at least have been made during a similar era. I’ve made a quick mock-up image below to demonstrate it. Because of the close serial number I do think there may be a connection.

So, if we assume that the numbers are continuous, the lens could have been an in-between model, somewhere between the launch of the Super-Lite half size lens (around 1933) and the Series III C which seems to have been around for a long time. Perhaps it was a prototype lens for a new Series III design – the mentioned diameter in the ad (called full-half size or what I assume to be 70.65 mm) is certainly close. The weird thing about it is that the lens seems uncoated. If earler Super-Lite lenses were uncoated as well, the Series III C might be a hint at this lens being the first to receive coating or at least a new/improved type of coating.
I finally found an image and description of another lens which looks pretty similar to both lenses shown above and – while not nearly as shiny and glossy – does have a golden color indicating, that it might be the original brass beneath a paint layer which had disintegrated over time. The focal length of this lens is 4 ½ inches and the Serial number 37109, which is pretty close to both lenses shown above (34564 and 41393).

So my best guess so far is, that this golden lens is an early prototype for a new, faster main lens series, which never went into full production.
The underlying lens design (Super-Lite Patent from 1922) is actually very close to what Zeiss patented significantly later (1932) as the basis for the Kipronar projection lenses. It’s not known if the Zeiss lens designers were aware of William Repp’s patent, or if both designs were based on some prior Petzval derivative, but it’s quite interesting to see that Repp thought about a design 10 years prior to Zeiss, who used it to great effect in the form of their Kipronar lens family. ISCO also used this or a very similar lens design for their Duotar lens series, which I dedicated a small section of my write-up on Isco Kiptar lenses to.
There are minor differences with the main one being two completely flat glass surfaces in Repp’s design vs. only one in the design by Zeiss. And overall, they’re both still close enough to the original Petzval design though to think it could have been a coincidence.
The lens in question is a 3 ¾ inch (95 mm) lens. With a front lens diameter of 56 mm, it’s actually pretty fast, boasting a theoretical speed of f/1.7. However, it seems like Projection Optics put in a fixed aperture disk, limiting the speed to around f/2.2, likely in order to improve image quality.


It might have been perceived differently at the time, but from today’s point of view, this lens – regardless of its opical properties – feels way more impressive and high-grade than the later Series III C lenses.
When used on a modern camera this lens certainly doesn’t impress in terms of sharpness, detail or resolution. Instead, it produces what I can only describe as a liquid smoothness, I’ve rarely seen from any other lens and at certain distances/in particular lighting situations, it’s among the most impressive lenses for portraits, still lifes or painterly close-ups that I’ve ever seen.






















The following shots are cross-view stereo images – here’s a tutorial on how to view them.





Don’t get me wrong though. Many of the pleasing aspects (at least to my eyes) likely stem from some form of optical flaw, so it’s even possible that the look of the lens was different in its original state.
If you happen to know more about the possible origin of this lens or do have alternate theories, due to material, design etc. I’m always happy to hear different opinions, so I’d be grateful if you reach out and let me know.
Super-Lite Series III C

As mentioned before the Super-Lite Series III C lenses seem like an upgraded version of the Series III with the added benefit of coated optics. It might have been introduced a little bit earlier than the completely new Super-Lite Hilux lens, or even simultaneously as a more budget-friendly alternative (175$ per piece, compared to the new Hilux at 270$). They were slighly faster than their predecessors at f/2 and seem to have been produced in significant numbers. At least’re the most likely lenses by Projection Optics to still be found today on the used market.
An ad mentions the available focal length range of these lenses, which went from 4” to 10”. I doubt the f/2 applies to all of them though.
102/2 Projection Optics Super-Lite Series III C
114/2 Projection Optics Super-Lite Series III C
121/2 Projection Optics Super-Lite Series III C
127/2 Projection Optics Super-Lite Series III C
140/2 Projection Optics Super-Lite Series III C
146/2 Projection Optics Super-Lite Series III C
152/2.? Projection Optics Super-Lite Series III C
165/2.? Projection Optics Super-Lite Series III C
171/2.? Projection Optics Super-Lite Series III C
178/2.? Projection Optics Super-Lite Series III C
190/2.? Projection Optics Super-Lite Series III C
197/2.? Projection Optics Super-Lite Series III C
203/2.? Projection Optics Super-Lite Series III C
216/2.? Projection Optics Super-Lite Series III C
222/2.? Projection Optics Super-Lite Series III C
229/2.? Projection Optics Super-Lite Series III C
241/2.? Projection Optics Super-Lite Series III C
248/2.? Projection Optics Super-Lite Series III C
254/2.? Projection Optics Super-Lite Series III C
Bifocal-Super-Lite
The basic design for the Super-Lite lens has also been the basis for the company’s first varifocal projection lens, the Bi-Focal Super-Lite. In a short article, Bernard Rose, one of the main people behind Projection Optics, explained the thoughts behind the design and goes into quite a lot of detail, which feels unusual from today’s consumer perspective. Of course, part of the target audience were projectionists, but even with this in mind, it might have been too much back then as well. It does indicate, however, that the people behind that small company were likely very proud of their invention and trying to establish it as theirs in a world where inspiration often went a little bit too far.

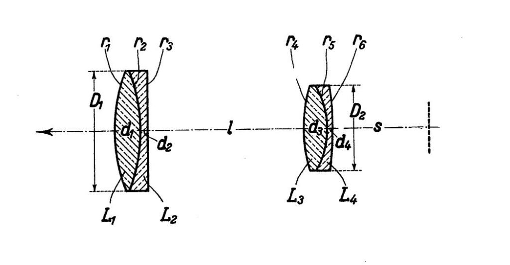
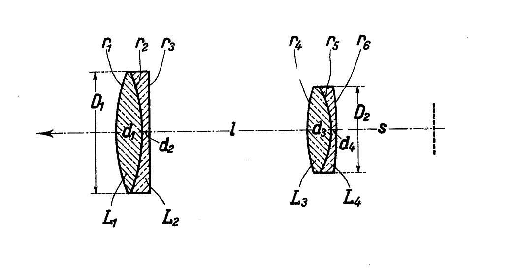
Because there are no technical lens drawings of Projection Optics lenses, apart from a couple of illustrations in ads, it’s hard to say for sure, what designs have been used for which lens family. Thankfully there is a drawing in the patent for a varifocal lens design, which indicates that the basic idea of US1479251 was later used in the Bi-Focal Super-Lite lenses.

Initially they started with an f/2.5 version, which launched in 1929, but later upgraded to an f/2 version, though seemingly quite similar. Here’s an ad for the former:
Once again, a lot of thought seems to have been put into the economic side of things, because it’s significantly cheaper to use one lens with variable focal length, than to use two or fixed focal length lenses. That being said, I doubt these lenses were up to the standard one would expect from a high quality prime projection lens, and so it’s not too surprising that they likely went away after a relatively short amount of time.
Projection Optics might really have been the first to try and patent the concept. Here are three of the first varifocal projection lens designs I’m aware of, in comparison:
As you can see, Projection Optics were ready to show the same idea several years earlier including a drawing of the underlying mechanism. Emil Busch however, didn’t only patent the simple design shown above, but also significantly more complex lens designs (Patent: DE000000597354A), which might have been used in some of their first attempts at zoom-lenses or perhaps the Polyneokino. Whatever the case, Projection Optics had probably built and even sold the first lenses, before the Vario-Neokino was officially patented. That’s quite the feat.
Another US-based manufacturer who offered Dual-Focus projection lenses, was Ilex Optical. In an ad from October 1929 they seem to have announced the lens and in a 1930s ad mentioned “patents pending”. At this point Projection Optics already had filed their patent. Their announcement however came slightly later. So, who was first?
It’s really hard to say for sure, because we don’t know enough about Ilex in terms of patent dates, construction etc. It might have been a parallel development but of course it’s also possible that one copied the other.
Meanwhile in France, some groundbreaking lenses with variable focal lengths were made by Angenieux and while the patent I was able to find (there might be earlier ones, if you know about some, please let me know), thanks to Espen Susort, was filed significantly later, it can’t be denied that the speed of up to f/1.4 is a lot faster then the f/2 of the Bi-Focal Super-Lite and Vario-Neokino. And yet another, almost completely unknown and smallscale manufacturer from Spain with ties to the French optical industry, called Optical developed a similar variable focal length projection lens with a range from 150-160 mm, which was slightly faster at f/1.9. You can read up on Optical here, if you’re curious about the only lens maker based in Spain, that I’ve ever encountered.
Hilux

The lens was mentioned to only be available in a very limited range of focal lengths from 2” to 3.5”. However, another ad mentions 2” to 7”, which could have included special orders though or be a preproduction promise (because it was mentioned after a trade show) that didn’t come to fruition.
51/1.8 Projection Optics Hilux
57/1.8 Projection Optics Hilux
63/1.8 Projection Optics Hilux
70/1.8 Projection Optics Hilux
82/1.8 Projection Optics Hilux
89/1.8 Projection Optics Hilux
95/1.8 Projection Optics Hilux
107/1.8 Projection Optics Hilux
114/2.? Projection Optics Hilux
127/2.? Projection Optics Hilux
140/2.? Projection Optics Hilux
165/2.? Projection Optics Hilux
187/2.? Projection Optics Hilux
The Hilux (at first still labeled Super-Lite in addition) lenses feel like Projection Optics’ attempt at competing with the latest Super-Cinephor lenses by Bausch & Lomb, by not only upgrading their lens to the same speed (f/1.8) but also a similar, more modern looking design and coating. Bausch & Lomb released a new series of Super-Cinephor lenses with a speed of f/1.8 and vastly improved corner performance in 1953, so the announcement of the Hilux one year later, was a necessary one to keep up with the competition. Rudolf Kingslake describes the Super-Cinephor as an opic type, which means that it likely still had one or two cemented doublets inside. I’ve seen Super-Cinephor lenses with what looked like pretty severe separation issues, so it seems to be the case.
What Projection Optics managed to do with the Hilux lens, is achieving the same high speed with an uncemented design, they only describe as “New Formula Anastigmat” in their ads… With pretty much all high-quality projection lens makers at the time switching to a 6-element Double Gauss design, it was likely worded in this vague way, to hide the fact that the Hilux instead featured a 4 elements in 4 groups design.
Because of the lack of any documentation or illustrations of the lens design, I can only assume that it is a somewhat similar design to the Zeiss Kipro-Anastigmat or Ernostar projection lenses or inspired by the Sonnar patent from 1931 by Ludwig Bertele. It certainly doesn’t seem to be a Petzval derivative like the earlier Super-Lite. Once again, it’s interesting to see that Projection Optics insisted on going their own route, rather than just copying what others were doing. And of course, economic reasons might have factored in as well.
Kollmorgen announced their Super-Snaplite II series with an even more impressive speed of f/1.7 in 1954 as well, however their introduction article hints at a 6 elements in 4 groups design, so also cemented and thus more prone to burn issues within groups.
It seems like Projection Optics didn’t care to patent their cementless design, which might be an indication for it not being unique. They certainly seem to have been one of the early adopters to a design without doublets, which got very popular a couple of years later. In Europe certainly from the time Zeiss Ikon launched their Visionar line of lenses and in the US, likely from the point Kollmorgen (and later Isco/Schneider) introduced their Cinelux line.
Many ads for projection lenses don’t mention specific prices, both because they almost always varied somewhat between different focal lengths, but also because they never were cheap items in the first place. So, it’s interesting that Projection Optics was confident in having developed an affordable new high-end series of projection lenses with a starting price of 270$, even though this certainly seems like a significant amount of money still. The up-and-coming Double Gauss projection lenses, which were chosen by their main competitors, were likely more expensive. To give some perspective, 270$ in 1954 is more than 3000$ in today’s currency.
In an article featured in the July 1954 volume of International Projectionist, the Hilux is falsely referred to as a Gaussian doppelanastigmat which shows, that the tactic of letting people assume Projection Optics would swap to a 6 element Double-Gauss design as well, seems to have paid off. And the company also made sure that not too many people wouldn’t be tempted to open the lens, both in their marketing, where they mention a “one-piece hermetically sealed mount” as well as “no recementing ever” as well as in the construction of the lens, which is the reason why I’m currently not considering opening it. There’s only one retaining ring in the front and it’s inside a deep lens hood which seemingly can’t be unscrewed.
It would be interesting to know what projectionists at the time thought about the lens. Did its image quality pale in comparison to the well-regarded Bausch & Lomb Super Cinephor? Or was it able to hold up reasonably well and use its advantages to good effect?
Unfortunately, none of the US companies seem to have patented their lens designs of this generation and many also didn’t show it within their marketing material. Because I don’t have one of each in my possession a lot of digging and a good amount of speculation was necessary, to create the rough drawings above. The Super-Cinephor was mentioned in an article at the time and the Kollmorgen Super-Snaplite thankfully shown in an ad, albeit in a foreshortened way, so it can’t be called exact. Same applies for the Super-Cinephor, which – while it’s already slightly adjusted from the drawing shown – will likely be even more compact in my opinion. Finally, the Projection Optics Hilux design is based on a mixture of the 1939 Sonnar patent design by Bertele and a post-war Ernostar design, shown further down in comparison to the Super-Hilux, so there’s still a good amount of speculation involved.
What’s interesting to note: I only added the Astro Berlin Astro-Kino-Color 100 mm f/1.8 lens drawing some time after I had drawn up the speculated lens design of the Sonnar/Ernostar inspired Hilux, so I was quite surprised myself when I found that image on the excellent website of Espen Susort , which showed a lens design with significant similarities. Espen mentions that this lens was from the 1960s, so it means the Hilux was already around for more than 5 years.
As usual there’s a multitude of ways to explain that, but most likely it just is another example of the constant mutual influence of each other, which is a reoccuring theme throughout the optical industry. Astro-Berlin might not have been one of the biggest names internationally, but among people in the know about cine-lenses, they might have been known even in the US, because they offered a unique and economically interesting alternative to the big names of the times. Here’s an ad from the Mitchell Camera Corporation, likely talking about the Tachar series:
If you want to read up on that interesting company, I can wholeheartedly recommend checking out the really well researched and presented Astro Historical Timeline by Espen Susort.
As mentioned before cementless designs became a lot more important during the timeframe the Hilux lens was developed and released, particularly in Germany:
In his 1980 article in SMPTE magazine, Karl Macher of Schneider Kreuznach/ISCO mentions a completely cementless Super-Kiptar design for example. It’s not known if this design has ever been used in practice however and if so, when it was created. You can read up on the matter in the Isco Kiptar article, but so far it seems like most Super-Kiptars have actually been 6 elements in 4 groups designs. The later re-designed ISCO Cinelux-Ultra, and Schneider Kreuznach Cine-Xenon designs however certainly helped the company become a global leader in the realm of projection lenses.
Zeiss attempted to create their own version of a new and effective cementless projection lens and clearly succeeded with their Visionar series. These lenses were not only spectacularly fast, but also very sharp and well-built.
Both Schneider, as well as Isco used 6 element air-spaced designs a lot from the 1970s on and some of those became their most successful lenses ever. So in a way, Projection Optics possibly were on the right track with their idea and it’s a mystery why they didn’t stick to it and evolved it further.
So, all well and good, but how does the Hilux fare, when adapted to a modern camera, you ask? I’m happy to report: Pretty good! Of course you can’t expect the sharpness, contrast and even performance across the frame later, more refined Double Gauss lenses might offer and while it’s reasonably fast at f/1.8, it doesn’t provide anything outstanding among projection lenses. However, it does have that somewhat unique 4 element in 4 groups design, which – apart from some Ernostar variants – has not been used a lot among projection lenses, but rather (in form of several Sonnar/Ernostar lenses and derivatives) among taking lenses. And that’s for good reason: Lenses with a design like this are said to render beautifully and I can confirm that to be true for the Hilux.
Sharpness is decent as well, but not outstanding and you’ll only get good detail in the center of the image, particularly on full frame and bigger sensors. Coverage may be sufficient for the GFX or even other medium format sensors, but that’s of course dependant on the focal length and even then, only true in terms of vignetting. You won’t get good corners with that lens, but in typical use cases of adapting lenses like this that might not really be necessary.











Unlike the contemporary Bausch & Lomb Super Cinephor lenses, the Hilux is usually inexpensive on the used market because it’s almost completely unknown today and thus they are a great alternative for people like me, who tend to prefer the Sonnar-look a lot of the time anyway. Another bonus point: Because of their cementless design, you can rule out separation issues and the most likely cases of burn damage as well.
Super-Hilux

Standard Barrel 2.781” O.D.
63/2.7 Projection Optics Super Hilux
70/2.7 Projection Optics Super Hilux
82/2.7 Projection Optics Super Hilux
89/2.7 Projection Optics Super Hilux
95/2.7 Projection Optics Super Hilux
107/2.7 Projection Optics Super Hilux
114/2.7 Projection Optics Super Hilux
121/2.7 Projection Optics Super Hilux
127/2.7 Projection Optics Super Hilux
140/2.7 Projection Optics Super Hilux
146/2.7 Projection Optics Super Hilux
152/2.7 Projection Optics Super Hilux
165/2.7 Projection Optics Super Hilux
187/2.7 Projection Optics Super Hilux
Large Barrel 4” O.D.
121/1.8 Projection Optics Super Hilux
127/1.8 Projection Optics Super Hilux
140/1.8 Projection Optics Super Hilux
146/1.8 Projection Optics Super Hilux
152/1.8 Projection Optics Super Hilux
165/1.87 Projection Optics Super Hilux
187/1.87 Projection Optics Super Hilux
Special orders: 1.5-4” & 7-14”
Though mostly forgotten today, one of the more controversial lenses by Projection Optics might have been the Super-Hilux which they introduced in 1955. Because after ISCO had launched their Super-Kiptar S f/1.5 lens, claiming to have created the fastest projection lens in the world, Projection Optics stopped reporting f-stop numbers and started to explain that they’re pretty much irrelevant within the process of cine projection. Instead of it, they proposed their own value, they called “light collecting speed” and suggested that their newly designed lens – which looks like a Sonnar/Ernostar variant – had a light collecting speed of f/1.0.
This way they were able to avoid direct f-stop comparisons and henceforth claimed to have “the fastest light collecting lens known”. You certainly can expect a move like that to create some controvery. I’m sure there has been more debate at the time, both in magazines as well as among projectionists and optical engineers. Here’s one opinion for each side I was able to find though:
Praise:
“Projection Optics Company of Rochester, N.Y., is now producing a line of projection lenses, called the Super Hilux line These lenses have a strong rear element close to the film gate, and thus have a greater light collecting ability, or, as we call it, a greater “light collecting speed.”’ The term “light collecting speed’’ is defined by the expression: Back Focal Length + Effective Diameter of Rear Element. Dr. Willy Merté stated in his treatise and index on Zeiss formulae that this style lens used in the Super Hilux is probably the best type of lens yet designed. (…) The field curvature of this lens is fully corrected, as is the spherical aberration, and the definition, as well as contrast, are excellent. (…) This shows clearly that the Super Hilux has a larger edge bundle of light, and thus greater illumination on the edge of the screen”
(John R. Miles, SMPTE Journal 1955 Vol 64, Issue 10)
For context, it’s imperative to mention that John R. Miles, writer of the above, has also been responsible for part of the lens development and had close ties with Projection Optics.
Criticism:
“…considering the fact that new products can be readily promoted on the basis of their factual merits—it is regrettable that a lens maker has now decided’ to designate a series of new lenses as having an “F:1 light-collecting speed.” This designation has no scientific significance until it is rigorously defined and generally accepted as valid and not contradicting established standards.”
(Dr. K. Pestrecov, Research Professor of Physics, Boston Universitey | International Projectionist 1955 Vol 30, Issue 7)
As you can see there’s no unanimous opinion on the matter and just looking at the lens design in question it’s somewhat doubtful that an Ernostar/Sonnar derivative would be able to outdo Double-Gauss lenses in terms of flatness of field and sharpness into the outer edges, which seems critically important when it comes to projection lenses. You’ve got to give it to the people in charge of Projection Optics though, that they made a bold step and tried something different. Besides the Alinar by Zeiss (albeit only for 16 mm) there were not too many projection lenses, which tried to go that route.
Zeiss also had a range of lenses, which were created in order to complement the Kipronar range, which they called Kipro-Anastigmat, and that might have been an inspiration for the creators of the Super-Hilux. While Zeiss had created this variant in 1939 and also experimented with a couple of Ernostar variants for projection purposes, they later mostly abandoned these designs, in favor of 6 element Double Gauss ones, like the 6-element Alinar variants and finally in 1960 the Visionar designs.
As user Bosun Higgs on the dpreview forum pointed out, the design is also pretty close to the Tokina-made Soligor 135/1.8, however that lens is from the 1970s and thus it’s likely that they’re both based on some older designs with a similar configuration. The Soligor lens in question is infamous for its harsh bokeh and less than stellar image quality, however in the images made with the Super-Hilux these deficiencies didn’t seem to appear in the same intensity. The lens does have quite a distinct look and out-of-focus rendering which won’t appeal to everyone.
For whatever reason the real f-stop of the Super-Hilux was mentioned in the magazine Motion Picture Herald in 1955 once, but we don’t know if that was on behalf of Projection Optics or not.
Some of the later Super-Hilux lenses had the f-stop marked on the barrel (there’s at least one f/1.87 mention on a long focal length lens of the series, which is interesting), so it seems like as soon as they had closed the gap to the faster lenses of their competitors, Projection Optics was willing to use f-stops again as well.
A slower Super Hilux lens series with a speed of f/2.7, featured small barrel diameters, and likely was intended as a more budget-friendly alternative, like the Series I and II from the Super-Lite lenses mentioned above.
In terms of adaption to modern cameras this may be the most interesting lens Projection Optics has ever created. But because they were only produced by a couple of years and thus not in great numbers, they’re very rare and usually expensive. They were made in a bright blue color with yellow lettering, which makes them stand out among all the other projection lenses ever made. Due to their unique optical construction they’re certainly interesting still and while not immune to separation, due to the cemented triplet in the middle, the great distance between the light source and the cement will likely have spared most of these lenses from burn issues.
Super-Hilux f/1.4
Among the very last ads for Projection Optics products, there’s also a mention of a new Super-Hilux lens with a speed of f/1.4, which would indeed put it above the ISCO Super-Kiptar S f/1.5 in terms of pure speed. However it’s unknown if this lens was ever sold (though there must have been prototypes at least) and because we’re talking about an announcement, which came at the end of 1957 it’s also quite possible that this value might have been surpassed by lenses from other manufacturers, particularly Angenieux in France (which might have even made an f/1.2 lens for 35 mm projection) and perhaps also Taylor Hobson in the UK.
Their direct rival Kollmorgen also managed to announce a Super-Snaplite f/1.4 in 1957, however it’s unknown, if it was also capable of projecting 70 mm film, like Projection Optics claimed for their new Super-Hilux. Regardless of who came out first in this round of “fastest projection lenses in the world” it’s still impressive to see that the small company from Rochester, managed to pull that off.
What’s interesting, when looking at the ad in question, is that the anamorphic lenses seem to have been the better selling or known products by Projection Optics at the time, compared to their prime projection lenses. I’m trying to give you a short glimpse at those as well further down, but of course these are additional optics and not comparable to regular projection lenses and thus mainly interesting for people who enjoy the anamorphic look, which is particularly common among video makers.
8 & 16 mm projection lenses
According to some articles and ads Projection Optics also produced a range of lenses for 8mm and 16 mm projection, but they rarely surface and there also aren’t many images in ads or announcements. That’s why I assume they weren’t a very notable name in that sphere. The 8 & 16 mm lens market likely was its own thing in many ways with several additional manufacturers, which didn’t provide optics for the projection of in the 35 or 70 mm formats, being part of it and so it might have been of lesser interest to Projection Optics.
The above image on the right might show one of the Projection Optics lenses for 16 mm, perhaps an earlier (Super-Lite) model to the Hilux 16 shown on the left.
There’s also a mention of a Projex lens attachment in order to enlarge the image for 8 and 16 mm projection, which might have been developed for or together with Spiratone.
Other lenses and devices
Hilux Anamorphic lenses
The Hilux-Val and other anamorphic lenses seem to have been a pretty great success for Projection Optics, at least going by the amount they mentioned and advertised them. They were designed to be used in combination with their prime projection lenses and likely helped them sell more of those as well, particularly after their “F1.0 Light Collecting Speed” marketing might not have worked out as planned.
Of course, anamorphic lenses can also be used on modern cameras today, but because I don’t have any experience with that I would refer to sites and forums for videography, if you’re interested in looking if they’ve been used successfully on a modern camera, because it’s mostly interesting for filming still. From what I randomly picked up on the web, is that German-made anamorphic lenses are often said to have been of higher quality, particularly those of Zeiss and Isco. But I guess it’s best to file that under hearsay and make your own experiments, if you’re interested in these lenses.
Slide projector lenses
Projection Optics also made slide-projector lenses, at least they’re mentioned in some Magazines on occasion. I’ve never seen one though or even an image, so perhaps these weren’t sold in big numbers.
Overhead Projectors
Projection Optics seems to have worked on overhead projectors for schools etc. and also some specialized projection optics needs, which arose during the following couple of years.
The patent above, which shows an invention by John R. Miles, the leading optical designer of later Projection Optics lenses, though working for his own company, shows such an overhead projector.
Charles Hollemeersch, a photographer and experimenter from Belgium has adapted an 18 inch (roughly f/3.9) beast of a lens from such a device onto a wet-plate camera and documented his experience here.
I’d recommend checking it out, because it’s very fascinating and entertaining to see and while these kinds of experiments can’t be recommended to everyone, it certainly sounds like an interesting thing to try.
Magic lantern lenses
David Evans of the Magic Lantern Society also found an interesting piece of Projection Optics’ history, because one of the magic lantern samples he found, likely from the 1920s had a Projection Optics labled lens on it. It seems to stem from the early days of the company (because it has their old address engraved). It’s not known if it was a custom order, or if Projection Optics manufactured lenses like this regularly. Because devices of this kind were often used for erotic material, products/parts for them were likely not advertised anywhere and thus undocumented. Check out his interesting article An Ancestor of the Carousel if you want to know more.
Television camera lenses
Some time during 1957 Projection Optics – like other notable projection lens manufacturers from Europe, for example Taylor, Taylor & Hobson, Schneider Kreuznach, Som Berthiot and Angenieux – seem to have decided to develop lenses for TV cameras. This ad is the only mention I’ve been able to find however, so it must be assumed this plan never really came to fruition or was appruptly stopped, when Beseler bought the company in 1958.
They could have been based on the Super-Hilux (a Sonnar/Ernostar derivate) and would certainly be interesting as taking lenses, if they exist.
Lights out
The end of Projection Optics
It seems like things had been going okay at Projection Optics up to 1957 and they even opened a London subsidiary in 1955, which is a sign that they probably had hopes to expand their business further:
But despite the radically different approach and bold markering of the Super-Hilux… or perhaps in part because of these aspects… it seems like things were not looking to bright for the company in the late 1960s, particularly because their competitors certainly hadn’t been sleeping as well.
In 1958 Projection Optics was purchased by Beseler, a company which has been known for a variety of devices, but on the international stage mostly for their enlargers.

It’s somewhat unfortunate that the company didn’t get a chance to continue their own path of creating cine projection optics, particularly after they had chosen to try an alternative route and not just go with the flow. The small team behind the company certainly came up with a couple of good ideas and was very early as well in several instances… it’s possible that it was mainly due to a lack of resources compared to the significantly bigger competing companies, which held them back.
And for what it’s worth Projection Optics didn’t cease to exist after behing purchased by Beseler. It rather looks like they were kept around as a separate business unit and tasked with the production and development of projectors and projection lenses, which seem to have been reasonably successful and were apparently well built.
So, I feel like it’s worth remembering and appreciating the endeavor of “the bottle man” Bernard Rose and his contemporaries to be creative, inventive and resourceful with whatever little they had on hand at the time, even if it was just some ideas and shards of old bottle glass.
A big Thank You to…
Markus Lemm, a really kind and generous projectionist who gave me one of the Hilux lenses
Geoffrey Zeiner, whose excellent article inspired me to do a lot more research.
Randy Stankey, who helped me find more information about the Rochester optical industry.
Bosun Higgs, on the dpreview adapted lens forum, for sharing his insights and observations.
Espen Susort, for his great in-depth articles, lens drawings and additional helpful information.





























Decades ago, I acquired a Projection Optics 4 3/4 IN.E.F SUPER-LITE serial number 37408. Interested in the specs and/or pix?
Thank you very much for your reply – yes, that would be great indeed! Always curious to find out more about those lenses!
Thank you for the information. I have acquired a compact “Telescope, Observation, Rifle Range”. Likely a WWII government contract for wartime service. It is marked Projection Optics 20x Super-Lite Scope Model T630 Rochester NY. Came in a wooden storage box with a tripod, cradle, adjustable center post. Black wrinkle finish. The box is labeled with Ordinance part numbers and a government part number. My interest is in collecting items related to military marksmanship activities from the 1880’s to present. We have other range telescopes in the collection but the “Super Lite” is the first. Interested in their war time activities for US government optical equipment.
Thanks for your reply! Unfortunately I never stumbled upon anything substantial related to the wartime-activities. It‘s interesting that they used the Super-Lite name for scopes as well.